本文来自色影无忌
近日佳能申请了多款 DS 镜头专利 。
为了获得变迹效果 , 使用对每个区域具有不同透射率的渐变型ND滤光镜(变迹滤光镜) 。 在专利文献1中 , 没有考虑将滤光镜应用于光学系统时瞳面上的透射率分布相对于波长的均匀性 。 本发明的目的在于提供一种光瞳面的波长均匀性高的光学系统 。
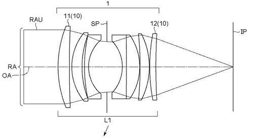
示例 (50mm F1.4)
焦距: 52.13
F值: 1.45
视角 <度> :22.54
像高: 21.64
镜头总长: 85.51
BF :37.71

文章图片
图1/3
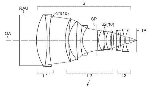
示例 (24mm F1.4)
焦距 :24.55
F值:1.45
视角 <度> :41.39
像高:21.64
镜头总长: 119.13
【佳能RF 130mm F1.4 DS镜头专利曝光】BF :38.01

文章图片
图2/3
示例 (130mm F1.4)
焦距 :131.00
F值: 1.41
视角 <度>: 9.38
像高: 21.64
镜头总长: 182.28
BF :13.87

文章图片
图3/3
关于佳能DS镜头 , RF 85mm F1.2 L USM DS目前在售 , 但未来可能会发布专利中的其他焦距DS镜头 。
50mm F1.4和老式单反镜头一样是双高斯型长后焦光学系统 , 可能更适合EF卡口 。 130mm F1.4 DS一旦商业化很可能会成为一个相当大的镜头 , 不过超大光圈+DS能拍出什么样的虚化效果还是很有意思的 。
特别声明:本站内容均来自网友提供或互联网,仅供参考,请勿用于商业和其他非法用途。如果侵犯了您的权益请与我们联系,我们将在24小时内删除。
