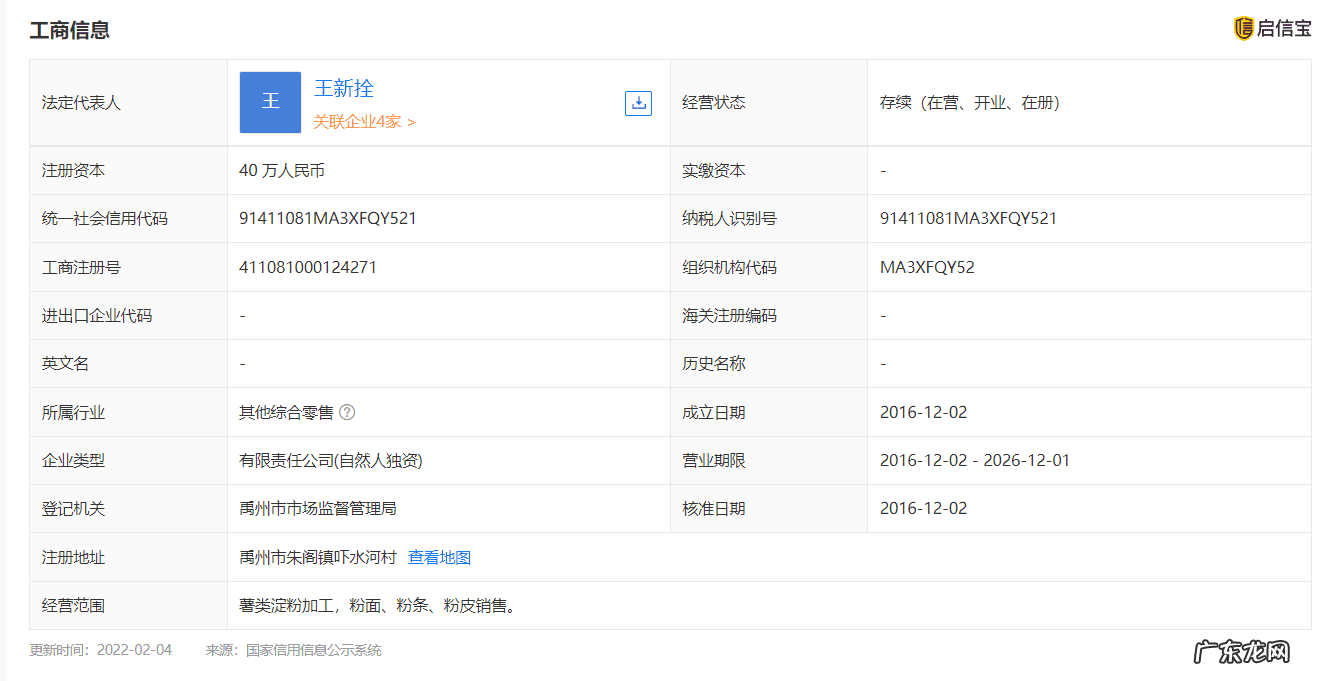
禹州市瑞田农副产品有限公司
启信宝显示,禹州市瑞田农副产品有限公司,成立日期2016年12月02日,法定代表人为王新拴,注册资本40万人民币 。经营范围含:薯类淀粉加工,粉面、粉条、粉皮销售 。截至目前,该公司共有1条行政处罚,处罚事由为违反食品药品管理行为 。

文章插图

文章插图

文章插图
马鞍山百助网络科技有限公司
启信宝显示,马鞍山百助网络科技有限公司,成立日期2012年7月11日,法定代表人为程磊,注册资本1000万人民币 。经营范围含:技术服务、技术开发、技术咨询、技术交流、技术转让、技术推广;网络技术服务;软件开发;信息系统集成服务;计算机软硬件及辅助设备批发;计算机软硬件及辅助设备零售;网络文化经营等 。截至目前,公司法律文书共18条,立案信息10条 。

文章插图

文章插图

文章插图

文章插图
长沙聚丰网络科技有限公司
启信宝显示,长沙聚丰网络科技有限公司,成立日期2010年6月10日,法定代表人为罗志朋,注册资本100万人民币 。经营范围含:网络技术的研发;软件开发;计算机技术开发、技术服务;网络游戏服务;第二类增值电信业务中的呼叫中心业务、信息服务业务等 。截至目前,公司开庭信息共1条 。

文章插图

文章插图

文章插图
融营智能科技(上海)有限公司
启信宝显示,融营智能科技(上海)有限公司,成立日期2017年7月26日,法定代表人为沈凯,注册资本1000万人民币 。经营范围含:从事通信技术、信息技术、软件技术领域内的技术开发、技术转让、技术咨询、技术服务,商务咨询,软件开发,企业管理咨询,网络工程,计算机、网络设备的安装及维修等 。截至目前,公司法律文书共3条,开庭公告共8条 。2018年增加1条行政处罚信息,因广告发布违规罚款5000元 。

文章插图

文章插图

文章插图
杭州以渔信息技术有限公司
启信宝显示,杭州以渔信息技术有限公司,成立日期2018年8月17日,法定代表人为常永辉,注册资本200万人民币 。经营范围含:计算机信息技术、网络技术、计算机软硬件、电子商务技术的技术开发、技术服务、技术咨询、成果转让等 。

文章插图

文章插图
上海乘移信息技术有限公司
启信宝显示,上海乘移信息技术有限公司,成立日期2019年5月24日,法定代表人为方林石,注册资本100万人民币 。经营范围含:信息科技、网络科技技术领域内的技术开发、技术咨询、技术转让、技术服务,计算机软件开发与销售,计算机信息系统集成;设计、制作、代理、发布各类广告等 。
- 12315可投诉范围 12315会处理每一个投诉吗
- qq群如何解散 qq群解散不了是为什么
- 梦见自己的牙坏了好多,掉了好多 梦见牙坏了一个窟窿还掉下一块
- 淘宝充值平台入驻 如何给淘宝网充值话费
- 如何看待在校学生谈恋爱?
- 如果一个人没有朋友和亲人,还有必要去拼吗?赚钱有意义吗?
- 孕期出血是怎么回事?如何避免出血找上门?
- 一个人英文网名女生 一个人英文缩写怎么写
- 如何用一个字形容林黛玉?
- 大学生要如何恋爱?
特别声明:本站内容均来自网友提供或互联网,仅供参考,请勿用于商业和其他非法用途。如果侵犯了您的权益请与我们联系,我们将在24小时内删除。
