
文章插图
这种设计是非常巧妙的,当然也有它存在的问题,那就是现阶段的屏下摄像头很难做到和非屏下一样的效果,光学素质上肯定会有一定的损失 。另外一点就是在成像质量方面,由于屏下摄像头是通过 AMOLED 像素点之间的缝隙成像的,且 AMOLED 像素点是自发光的,屏下摄像头是要面临着极大的光线干扰问题的,想要达到非屏下的拍摄效果,只能通过算法进行弥补 。
就在 OPPO 发布了屏下摄像头样机的当天,小米总裁林斌也展示了屏下摄像头技术,和 OPPO 不同,小米为了展示出屏下摄像头解决方案的优越性,用的就是小米 9 的工程样机,两相对比这下,屏幕观感力见高下 。

文章插图
小米所采用的方案其实跟 OPPO 的有所不同,OPPO运用了微透镜技术来解决透光的问题,小米的技术方案是直接在屏幕上的摄像头区域做高透光和低反射,屏幕在使用前置摄像头的时候直接关闭显示,变透明 。

文章插图
这两个方案虽然不尽相同,但是目的都是一样的,就是干掉异形屏,比较遗憾的是两者都还有待优化,量产还需要一段时间 。
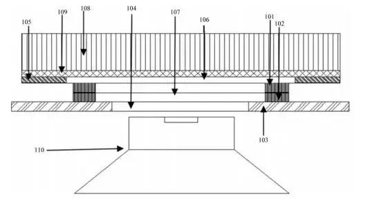
不止是 OPPO 和小米,通过专利方案查询,其他的国产手机厂商虽然还没有公布相关的屏下摄像头技术,但是在专利方面都可以查到已经有了相应的技术储备 。VIVO 的方案是讲屏幕分两个区域采用不同的材质,正常是 AMOLED,但是屛下摄像头区域是透光率更高的 PMOLED 。而京东方的方案非常简单粗暴,就是直接两块屏幕,需要用到前置屛下摄像头时,对应部分的屏幕直接移动走 。

文章插图
大家比较关心的华为,同样也有相应的方案,通过一层液晶调光膜+补光灯,通过不同电压调节部分屏幕区域液晶层的透明度 。可以说华为的这方案实现起来是最难的,因为一旦实现,这个技术不仅可以用于屛下摄像头,还可以调节背盖的透明度,实现手机背盖在雾面和透明之间的随意调节 。

文章插图
但是目前最有希望量产的还是三星,在很早就就提出了 NewInfinity 的屏幕解决方案,而且在 4 月份就对外公布了自己正在研发完美全面屏的计划,而且根据专业人士的预估,三星极大可能在第四季度就能够推出量产的屏下摄像头手机,从逻辑上来讲,拥有手机全线生产技术的三星的确更加容易做出量产机出来,不过会不会出现 Galaxy Fold 的尴尬情况就不得而知了 。

文章插图
不过国产手机不同的解决方案专利倒是从侧面把老罗那句「都是供应链的技术」做了一次反驳,国产手机正在发力已经成为了一个事实,而且也是正确的发力方向,再等等,就胜利了 。
- 蒲公英茶的功效与作用视频 蒲公英茶的功效与作用
- 汽车防爆隔热膜的作用是什么
- 大王花的特点英语 大王花的特点
- 貔貅的正确戴法 貔貅的戴法有什么讲究
- 常喝红茶有什么好处和坏处 喝红茶的利与弊
- 加菲猫预产期 加菲猫分娩前的征兆
- 金色蔷薇的花语 蓝色蔷薇花语
- 怎么挑选爱叫的野云雀云 怎么挑选爱叫的野云雀
- 内蒙砖茶与普洱茶的区别
- 天山翠手镯的功效与作用
特别声明:本站内容均来自网友提供或互联网,仅供参考,请勿用于商业和其他非法用途。如果侵犯了您的权益请与我们联系,我们将在24小时内删除。
