本文来自cnBeta
【苹果希望通过移除扬声器格栅来缩小MacBook Pro体积】苹果公司一直在研究如何在MacBook Pro键盘下面嵌入一个扬声器 , 这意味着能够减少设备的占地面积 。 苹果还没有完成减少边框的工作 , 现在又想减少扬声器的格栅 。 新披露的 “电子设备的扬声器组件 ”苹果专利申请提出了一个新的扬声器系统 。
音频质量很重要 , 但这项专利申请同样关注设计、重量、便于携带和整体美学外观 。 苹果在专利当中表示 , 与电子设备制造相关的一个设计挑战是将提供不同功能的部件组装到一个紧凑的外形尺寸中 , 这种设计挑战通常来自于一些相互冲突的设计目标 , 其中包括独立部件的性能和与电子设备互动时的用户体验 。 苹果公司希望MacBook Pro的声音很好听 , 但也不能以任何方式损害用户在其中的工作 。

文章图片
图1/2
扬声器运动产生的振动往往可以传遍整个电子设备 , 苹果希望减少或消除这种振动的传播 , 使用户在接触电子设备时无法感觉到这些振动 。 苹果公司还希望 以一种在组件和装配时间方面成本最小化的安排来实现这种结果 。 拟议的解决方案是一个扬声器系统 , 它将位于MacBook Pro的键盘下方 。 该系统将是一个扬声器组件 , 包括扬声器本身 , 并通过一个弹簧元件连接到机箱 。 这个弹簧元件可以被配置为减少由扬声器产生的振动传递到其他部件 。

文章图片
图2/2
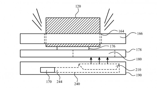
专利申请中的细节 , 显示了键盘下面的扬声器组件 。 其中弹簧元件可以包括一个臂 , 该臂在主体的开口内延伸 , 将主体与固定在底盘上的紧固件连接起来 , 通过这样的安排 , 扬声器组件可以从笔记本电脑内操作 , 以产生声音 , 而不会在整个笔记本电脑内传播过度的振动 。 因此 , 你可以一边听着响亮的音乐一边打字 , 无论是你敲击键盘 , 还是切换扬声器播放的曲目 , 都不应该影响对方 。
该专利申请的近7000字中 , 大部分集中在弹簧元件的可能机制上 。 因此 , 尽管专利申请只是宽泛地提到了它 , 但这样的扬声器系统可以嵌入其他设备中 。 这样的电子设备可以包括显示器、电视、便携式设备、电话、平板电子设备、移动电子设备、可穿戴设备、手表和/或数字媒体播放器 。
特别声明:本站内容均来自网友提供或互联网,仅供参考,请勿用于商业和其他非法用途。如果侵犯了您的权益请与我们联系,我们将在24小时内删除。
