IT之家 1 月 28 日消息 , 去年年中 , 三星第三代折叠屏产品 Galaxy Z Fold 3 和 Galaxy Z Flip 3 发布 , 这两款产品的背后 , 也是三星多年来在折叠屏领域进行的相当深远的研究和探索 。 比如“卷轴”屏之外 , 还有拥有两个转轴的双折叠屏手机 , 一块屏幕向前折叠 , 一块屏幕向后 , 形成“Z”形态 , 三星曾为该设备申请过专利 。
而刚刚曝光的这份专利 , 同样展示了该形态的折叠屏 , 但内容更多的是和「手写笔」有关 。
文章图片
来自 letsgodigital 的报道显示 , 一份新的专利显示 , 未来三星折叠屏手机有望做到像三星 Note 系列那样 , 可以集成一支手写笔 。
报告显示 , 2021 年 7 月 23 日 , 三星电子向世界知识产权局(WIPO)申请了专利 。 这份 66 页的文档题为“包含手写笔的可折叠电子设备” , 于 2022 年 1 月 27 日正式公开 。
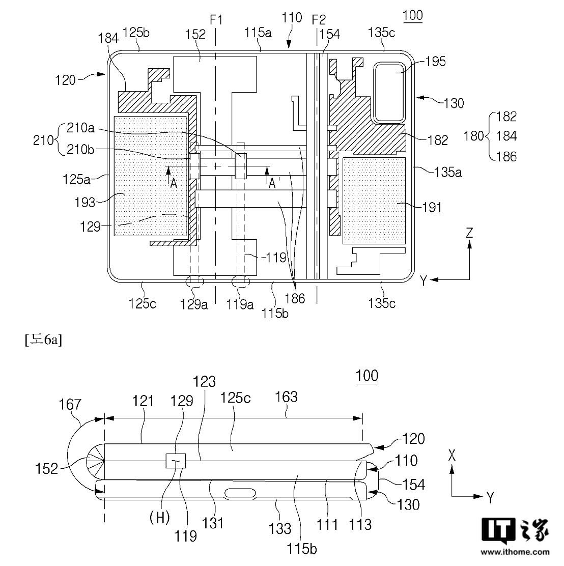
专利图显示 , 这是一款双折叠屏设备 , 包括一个向内一个向外的转轴 , 由此组成了“Z”形的折叠状态 , S-Pen 的位置在专利中也清晰可见 。
文章图片
文章图片
在转轴的背后 , 有两个可以容纳手写笔的凹槽 , 在折叠状态下 , 这两个凹槽刚好能够“夹住”S-Pen 手写笔 , 手写笔也采用了类似 Galaxy Tab 系列的磁吸固定 。
由于 S-Pen 被磁性固定到位 , 因此当用户展开手机时 , 它不会掉落 。
此外 , 该区域还内置了充电线圈 , 提供手写笔的充电 。 S-Pen 无需充电 , 不过此前三星发布的更专业、更适合大屏的 S-Pen Pro 是需要充电的 。
专利图显示了这款双折叠屏手机搭载了三摄影像系统 , 其中还包括一枚潜望长焦镜头 , 另外 , 文档也显示了该手机将采用双电芯电池 。
文章图片
此前有消息称 , 三星将在 2021 年底发布这款双折叠屏手机 , 但我们也看到了 , 这款双折叠屏手机并没有像传闻中那样如期而至 。 不过 , 从这次公布的专利来看 , 折叠屏内置手写笔 , 也存在一定的可行空间 。
【三星折叠屏将支持手写笔?这份专利或许将揭晓答案】如今智能手机市场 , 似乎只有三星仍在坚持手写笔 , 虽然以集成手写笔为“荣”的 Galaxy Note 系列已经被砍掉 , 但三星并没有放弃手写笔 , 此前发布的 Galaxy Z Fold 3 , 就是该品牌首款支持 S-Pen 的折叠手机 。
特别声明:本站内容均来自网友提供或互联网,仅供参考,请勿用于商业和其他非法用途。如果侵犯了您的权益请与我们联系,我们将在24小时内删除。
