稿源:半导体行业观察
英特尔最近发布的一项专利可能是其未来图形加速器设计的基石——它利用了多芯片模块 (MCM:Multi-Chip Module) 方法 。 英特尔描述了一系列协同工作以提供单帧的图形处理器 。 英特尔的设计指向工作负载的层次结构:主图形处理器协调整个工作负载 。
该公司将 MCM 作为一个整体方法构建为一个必要的步骤 , 以引导芯片设计人员远离在不断追求性能的过程中不断增加裸片尺寸所带来的可制造性、可扩展性和供电问题 。
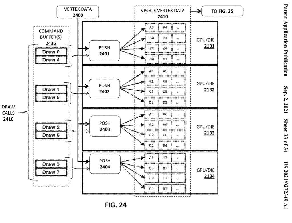
根据英特尔的专利 , 多个图形绘制调用(指令)传送到“多个”图形处理器 。 然后 , 第一图形处理器实质上运行整个场景的初始绘制通道 。 此时 , 图形处理器只是创建可见性(和障碍)数据;它决定渲染什么 , 这是在现代图形处理器上进行的高速操作 。
【英特尔神秘专利曝光:透露GPU的未来设计方向】然后 , 在第一次通过期间生成的一些图块会转到其他可用的图形处理器 。 根据该初始可见性传递 , 他们将负责准确地渲染与其tiles相对应的场景 , 这表明每个tile中的图元或显示没有要渲染的地方 。
文章图片
一种集成了英特尔专利中描述的图形处理器之一的计算机系统 。 请注意处理器和内核中的复数 。 (图片来源:英特尔)
文章图片
英特尔“细节”之一的详细示意图(图片来源:英特尔)
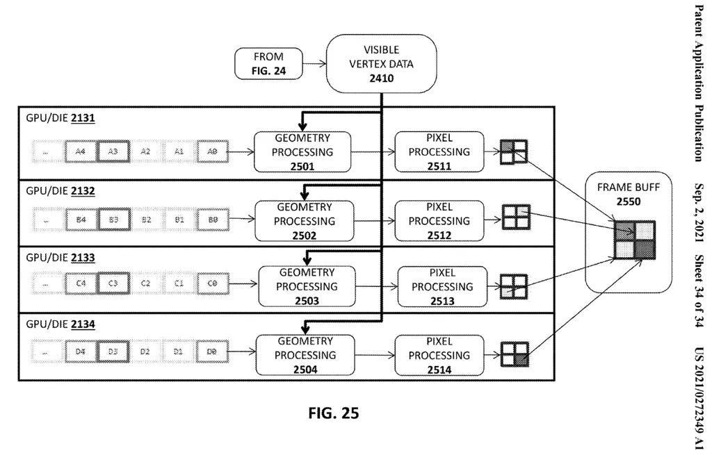
因此 , 英特尔似乎正在考虑将基于图块的棋盘渲染(当今 GPU 中使用的一项功能)与分布式顶点位置计算(在初始帧传递之外)集成在一起 。 最后 , 当所有图形处理器都渲染了他们的单帧拼图(包括着色、照明和光线跟踪)时 , 它们的贡献被拼接起来 , 以在屏幕上呈现最终图像 。
理想情况下 , 这个过程每秒会发生 60、120 甚至 500 次 。 英特尔对多芯片性能扩展的希望就这样摆在我们面前 。 然后 , 英特尔使用 AMD 和 NVIDIA 显卡在 SLI 或 Crossfire 模式下工作的性能报告来说明经典多 GPU 配置的潜在性能提升 。 但是 , 当然 , 它总是低于真正的 MCM 设计 。
文章图片
基于图块的渲染 , 其中单个帧被分成多个图块 。 在英特尔的专利中 , 这些图块将经过第一次通过 , 指示哪些图元可见以及在何处可见 。 这为每个图块提供了多个图形处理器必须在顶部渲染的框架 , 直到我们获得 Destiny 2 帧 。 (图片来源:英特尔)
文章图片
文章图片
对多 GPU 配置的性能估计——英特尔没有分享任何关于这项专利申请的内部结果 , 至少可以说这很有趣 。 (图片来源:英特尔)
然而 , 英特尔的专利在架构层面的细节上是模糊的 , 并且涵盖了尽可能多的领域——这在这个领域也是很常见的 。 例如 , 它允许设计甚至包括多个协同工作的图形处理器或只是图形处理器的一部分 。
文章图片
文章图片
特别声明:本站内容均来自网友提供或互联网,仅供参考,请勿用于商业和其他非法用途。如果侵犯了您的权益请与我们联系,我们将在24小时内删除。
