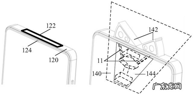
中关村在线消息:今日小米申请的旋出式摄像模组及终端在中国专利公布报告中出现 , 新专利将摄像头隐藏才手机中框内 , 不占用屏幕空间 , 从而提升屏占比 , 并且摄像头模组的弹出方式也经过改良 , 以狐线作为运动轨迹 , 可以更加快速的弹出摄像头 。

文章插图
小米旗舰手机小米12系列将于下个月发布 , 据爆料新机将采用屏下摄像头方案 , 并且首发搭载骁龙898处理器 , 同时采用续航新科技 , 本次公布的专利能否用在小米12身上目前未知 , 中关村在线将会为您持续报道 。
【小米屏下摄像头专利公布 采用弹出式设计】(7814578)
- 小米“手机xAIoT”战略新里程碑 MIUI全球月活用户突破5亿
- 华为、小米、OPPO等投资的这家公司,即将登陆科创板
- 小米12系列爆料汇总:多项变化来袭,或让用户没有料到!
- 荣耀成为手下败将,小米连续两周蝉联第二,卢伟 冰 没有说大话
- 小米Q3财报解读:MIUI月活用户突破5亿,高端手机新增用户是亮点
- 小米线下销售渠道再扩大 河南27日将开设51家小米之家
- 雷军:小米Q3盈利能力增强,经调净利52亿同比增长25.4%
- 少卖900万台手机,小米第三季度经营利润环比减少超七成
- 两大国产新机官宣外观,小米、iPhone集体无语
- 小米总裁王翔:缺芯影响1000万以上的出货量
特别声明:本站内容均来自网友提供或互联网,仅供参考,请勿用于商业和其他非法用途。如果侵犯了您的权益请与我们联系,我们将在24小时内删除。
