至于佳能 , EOS R5C几乎是最终版 , 很快就会发布 , 但传闻价格意外的便宜 , 所以视频博主认为9000美元不是常态 。 另外 , 虽然不是预期 , 但想知道传闻中的APS-C?RF卡口机是否会出现 。
BCN+R 公布 2021年销售前十单反相机日本《BCN排行榜》根据2021年1月1日至2021年12月12日每日汇总数据 , 给出单反相机实际销量排名如下:

文章插图
- 1位?佳能EOS Kiss X10 双变焦套机 黑色
- 2位?尼康D5600 双变焦套机
- 3位?佳能EOS Kiss X10i 双变焦套机
- 4位?尼康D3500 双变焦套机
- 5位?佳能EOS Kiss X10 EF-S18-55 IS STM 镜头套机 黑色
- 6位?尼康D7500 18-140 VR 镜头套机
- 7位?佳能EOS 90D 单机身
- 8位?佳能EOS 90D EF-S18-135 IS USM 镜头套机
- 9位?佳能EOS Kiss X9i 双变焦套机
- 10位 佳能EOS Kiss X10 机身 黑色

文章插图
尼康Z 400mm f/2.8 TC VR S即将发布据传尼康Z 400mm f / 2.8 TC VR S无反镜头将在1月底发布 , 预计在二月下旬/三月初发售 。 这些时间可能会进一步推迟或更改 。

文章插图
Z 卡口尼克尔 Z 400mm f/2.8 TC VR S 无反镜头的一些细节:
- 新的 400mm Z 镜头采用了新的涂层和自动对焦马达技术 , 远远领先于竞争对手(据消息源透露) 。
- 该镜头有一个内置 1.4 倍增距镜——这将使焦距范围扩展到 560mm 。
索尼宣布暂停α6600和α7C订单索尼宣布将暂时停止接受α6600和α7C的订单 , 并停产α7 II和α6100 。

文章插图

文章插图
除了此前α6400和ZV-E10暂停订单 , 索尼还宣布暂时停止α6600和α7C的订单 。 另外 , 由于α7 II和α6100已经停止生产 , 索尼APS-C画幅所有主要机器都将从商店中消失 。
此外 , 由于α7C是最受欢迎的全幅无反机型之一 , 因此暂停订单影响会很大 。 索尼可能停止接受这些机型的订单并专注于生产新的α7 IV 。
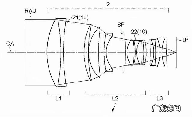
佳能RF130mm F1.4 DS镜头专利曝光近日佳能申请了多款 DS 镜头专利 。
为了获得变迹效果 , 使用对每个区域具有不同透射率的渐变型ND滤光镜(变迹滤光镜) 。 在专利文献1中 , 没有考虑将滤光镜应用于光学系统时瞳面上的透射率分布相对于波长的均匀性 。 本发明的目的在于提供一种光瞳面的波长均匀性高的光学系统 。
示例 (50mm F1.4)
- 焦距:52.13
- F值:1.45
- 视角 [度] :22.54
- 像高:21.64
- 镜头总长:85.51
- BF :37.71

文章插图
示例 (24mm F1.4)
- 焦距 :24.55
- F值:1.45
- 视角 [度] :41.39
- 像高:21.64
- 镜头总长:119.13
- BF :38.01

文章插图
示例 (130mm F1.4)
- 焦距 :131.00
- F值:1.41
- 视角 [度]:9.38
- 像高:21.64
- 镜头总长:182.28
- BF :13.87

文章插图
关于佳能DS镜头 , RF 85mm F1.2 L USM DS目前在售 , 但未来可能会发布专利中的其他焦距DS镜头 。
- 白马股有哪些股票2020 2021白马股跌幅
- 原神哪个角色最强2021 2021原神平民必练角色推荐
- 转氨酶偏高的原因及危害 转氨酶高的危害性
- 十月一日淘宝活动 淘宝11月11日有什么活动
- ipad air2现在价格 ipadair2值得买吗2021
- 属羊人在2021年每月运势 属羊人2021年运势运程每月运程
- 大学英语统考是什么 统考英语是什么意思
- 普陀山风水解说 普陀山的风水
- 李居明2021年属鸡运程 李居明讲属鸡人
- 最高的返利网排行 最高返利网平台
特别声明:本站内容均来自网友提供或互联网,仅供参考,请勿用于商业和其他非法用途。如果侵犯了您的权益请与我们联系,我们将在24小时内删除。
