IT之家 11 月 23 日消息 , 近日 , 小米科技有限责任公司申请图形商标 , 国际分类涉建筑材料 , 企查查 App 显示 , 申请日期为 2021 年 11 月 , 据悉该图形为雷军个人签名 。
文章图片
文章图片
对于没有见过雷军签名的小伙伴 , 这个图形还真不太好辨识 , IT之家找到了一张小米 11 雷军签名版手机的图片 , 上面的雷军签名可以跟商标中的签名对比一下 , 看起来是一模一样的 。
文章图片
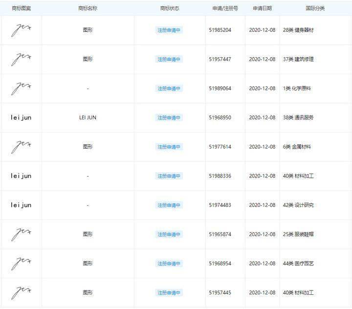
实际上 , 这并不是小米第一次为雷军签名申请商标 , 去年 12 月小米科技有限责任公司陆续提交申请了上百件商标申请 , 其中不仅有雷军的手写签名图形商标 , 还包括雷军的名字拼音“lei jun” 。 小米公司对雷军的名字拼音商标和手写签名商标都是 45 类全类注册 , 全方位保护 。
【小米申请新图形商标,为雷军个人签名】
文章图片
小米公司大量注册雷军的名字拼音和手写签名商标 , 是一种防御性保护策略 , 有效避免他人抢注商标给品牌带来损失 。
特别声明:本站内容均来自网友提供或互联网,仅供参考,请勿用于商业和其他非法用途。如果侵犯了您的权益请与我们联系,我们将在24小时内删除。
