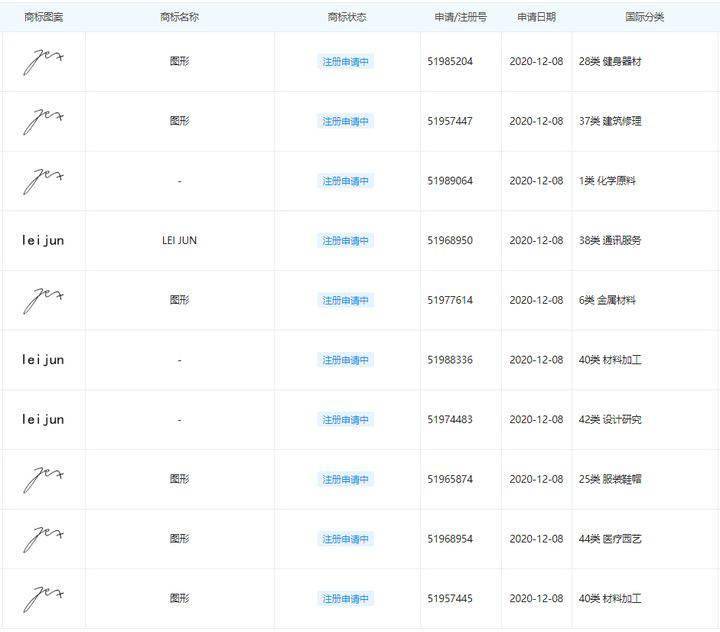
IT之家 11 月 23 日消息 , 今天晚上 , 小米公关部总经理王化称回应“小米申请雷军签名商标” , 其表示 , 不仅是签名 , 包括雷军的名字拼音“lei jun” , 小米法务的同学都申请了 45 类全类注册 , 全方位保护 。 所以不要看到有新增的建筑材料分类就以为又有大新闻了 , 其实就是阶段性的补充申请 。
文章图片
【王化回应“小米申请雷军签名商标”】近日 , 小米科技有限责任公司申请图形商标 , 国际分类涉建筑材料 , 信息显示 , 申请日期为 2021 年 11 月 , 据悉该图形为雷军个人签名 。
文章图片
IT之家获悉 , 去年 12 月小米科技有限责任公司陆续提交申请了上百件商标申请 , 其中不仅有雷军的手写签名图形商标 , 还包括雷军的名字拼音“lei jun” 。 小米公司对雷军的名字拼音商标和手写签名商标都是 45 类全类注册 , 全方位保护 。
文章图片
特别声明:本站内容均来自网友提供或互联网,仅供参考,请勿用于商业和其他非法用途。如果侵犯了您的权益请与我们联系,我们将在24小时内删除。
