今天是11月28日
农历十月廿四
朋友遍布全国是一种什么体验?
就是在家找不到人看电影
却收到了外地朋友寄来的:
东北大米、内蒙羊肉
以及新疆阿克苏的苹果
下面是今天的其他大新闻
# 网易云音乐香港 IPO 定价 205 港元
文章图片
( 新浪财经 )中国游戏巨头网易的音乐流媒体部门通过香港 IPO 融资 4.22 亿美元 , 定价在推介区间的中点 。
云音乐股份有限公司发行价定为每股 205 港元(26.30美元) 。 根据初步招股说明书 , 该公司拟发行 1 , 600 万股股票 , 推介区间为每股 190-220 港元 。 该股将于 12 月 2 日开始挂牌交易 。 在今年早些时候暂停上市后 , 云音乐股份此番重启了 IPO 计划 。 该公司曾寻求 IPO 融资约 10 亿美元 。 云音乐股份在中国运营网易的音乐流媒体平台 , 大部分收入来自订阅、虚拟礼品和广告 。 根据招股说明书 , 该部门今年上半年月音乐用户数量增加到 1.85 亿 , 营收增长 61% 至32 亿元人民币(5.01亿美元) , 但净亏损也增长逾两倍至 38 亿元 。
: 真羡慕在网易云音乐工作的朋友 。。。
# 南非医生:奥密克戎症状“不寻常” , 但温和
文章图片
( 观察者网)被世卫组织列为“ 令人担忧 ”变种的新冠病毒变异株奥密克戎引发世界担忧 , 多国已出现确诊病例 。 南非医学会理事安吉丽·库切(Angelique Coetzee)称 , 感染该毒株的病例症状“不寻常 , 但温和” 。 据这名医生介绍 , 感染奥密克戎的病人出现的典型症状是“极度疲乏” , 但没有出现味觉或嗅觉丧失 。
南非的安吉丽·库切(Angelique Coetzee)博士表示自己是第一个对于新变异毒株可能出现提出警告的人 。 她在南非行政首都茨瓦内(比勒陀利亚)经营一家私人诊所 。 本月早些时候 , 她的新冠患者开始出现一些特殊症状 , 让她意识到病毒再次突变的可能性 。
:最近对移动支付的监管 , 是越来越严格了~
# “中国芯”数字货币钱包来了 离线无网络也能支付
文章图片
( 快科技 )去年 , 我国正式在深圳等地率先开启了数字人民币试点 , 可以通过手机等移动设备直接进行交易 , 且相比于微信、支付宝更加安全 , 属于法定货币的一种 , 其属性等同于纸质人民币 。 今日 , 据中国青年报报道 , 我国自主研发的数字货币钱包已通过相关测试 。
达在数字货币领域率先采用国产芯片与自主可控安全芯片操作系统配合使用 , 真正做到“一人一卡” , 防止误刷盗刷 , 与软件钱包相比 , 该产品在离线条件下也可实现随时随地的便捷支付 。
:不知道什么时候杭州能试个点 , 发点数字人民币 。
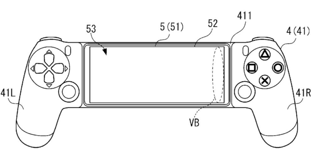
# “ 索尼“手机游戏手柄”专利曝光:形似 PS4 手柄 , 不支持陀螺仪
文章图片
( IT之家 )根据 IT 之家消息 , 索尼互动娱乐似乎是专为手机游戏设计了 PlayStation 手柄 , 近日已申请了专利 。 该专利于本周由 SIE 的日本分部发布 , 描述了一种在设备上玩游戏的系统 , 该系统与两个控制器手柄相结合 。 该手柄类似于 PS4 的 DualShock 4 手柄 , 而不是 PS5 较新的 DualSense , 被描述为“用户的左手和右手握持的左侧握把部分和右侧握把部分” 。
特别声明:本站内容均来自网友提供或互联网,仅供参考,请勿用于商业和其他非法用途。如果侵犯了您的权益请与我们联系,我们将在24小时内删除。
