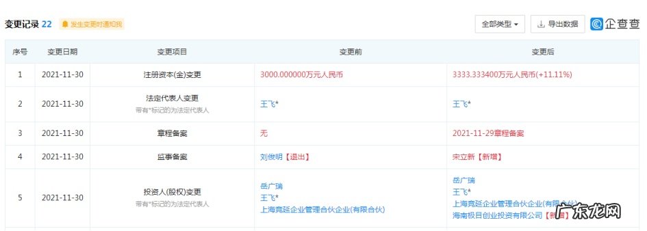
12月1日消息 , 企查查资料显示 , 11月30日 , 上海匠岩智能科技有限公司发生工商变更 , 新增小米关联公司海南极目创业投资有限公司为股东 , 同时公司注册资本由3000万元人民币增加至3333.33万元人民币 , 增幅为11.11% 。

文章插图
企查查信息显示 , 该公司成立于2018年 , 法定代表人为王飞 , 经营范围包含物联网技术服务;大数据服务;通讯设备销售;通信设备销售;电子元器件制造;货物进出口等 。

文章插图
据悉 , 该公司此前由上海竞延企业管理合伙企业(有限合伙)持股90% , 岳广瑞持股7% , 王飞持股3%;目前由上海竞延企业管理合伙企业(有限合伙)持股81% , 海南极目创业投资有限公司持股10% , 岳广瑞持股6.3% , 王飞持股2.7% 。
其中 , 海南极目创业投资有限公司成立于2021年6月 , 注册资本10亿人民币 , 经营范围包括创业投资、以自有资金从事投资活动 , 由小米私募股权基金管理有限公司持股100% , 最终受益人为雷军 , 最终受益股份77.8% 。

文章插图
【小米关联公司入股高新技术企业匠岩智能持股10%】值得注意的是 , 日前 , 埃泰克汽车电子(芜湖)有限公司也发生工商变更 , 新增海南极目创业投资有限公司等为股东 , 同时注册资本增至约1.05亿人民币 。 股权穿透图显示 , 变更后海南极目创业投资有限公司持股11.12% 。
- 蔚领时代完成4亿元人民币B轮融资 小米跟投
- 成立仅5天公司5.73亿“捡漏”乐视大厦,贾跃亭还能翻身吗?
- 搭载MIUI 13的小米12,会成为新的「钉子户」吗?
- 京东新动作,刘强东、章泽天、李瑞玉联手成立私募公司,章泽天为大股东,并非京东首次私募业布局
- 如何寻找行业的龙头公司 淘宝网手机行业品牌和型号信息发布后将不得变更企业信息发布平台
- 一年发起17起投资,仅次于腾讯,这家公司为何这么大手笔?
- 罗永浩公司布局8个直播间 实现全时段全品类和多主播参与
- 请问韩国CJ公司是怎样的一家公司?和中国希杰是什么关系?
- 好听罕见绝不重名的女孩名字 淘宝开店取名老是重名怎么办?取名前需要注意什么?公司名字能不能重名
- 每天坚持小米熬粥,常吃对身体会有哪些变化?
特别声明:本站内容均来自网友提供或互联网,仅供参考,请勿用于商业和其他非法用途。如果侵犯了您的权益请与我们联系,我们将在24小时内删除。
