
文章图片
图1/6
欢迎关注“新浪科技”的微信订阅号:techsina
文/游璃
来源/BT财经(ID:btcjv1)
自然界中存在一种名为“雨燕”的动物 , 在希腊语系的含义为“没有脚的鸟” 。 传闻它飞翔速度极快 , 振翅飞入云端后就无法休憩 , 而是不停息地盘旋、横掠、捕食 , 从不落到地面或植被上 。
不知道云鸟科技创始人韩毅在为公司起名时是否存有向雨燕致敬的心意 , 但自从10月30日云鸟科技官微发文“云鸟真的飞(CEO韩毅跑路)了”那一刻起 , 同为飞禽的云鸟 , 就走向了雨燕故事中最糟糕的那条剧情线 。 而意志坚毅的韩毅 , 也被“大家快去告韩毅”的员工呼吁声钉在了耻辱柱上 。
连续创业者的翻车事故
天眼查官网显示 , 云鸟科技成立于2014年11月 , 创始人韩毅具备互联网及产业运营经验 , 曾担任硅谷动力副总裁、无线娱乐公司魔龙国际创始人兼CEO、短视频KOL交易平台微播易创始人兼CEO等职务 , 创业家底不俗 。
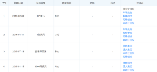
基于韩毅对物流及同城配送领域的深入了解 , 云鸟科技此前也曾被业界普遍看好 。 2015至2017年的两年间 , 云鸟科技完成了总计超过2.2亿美元的四轮融资 , 其中包括红杉中国、金沙江创投及经纬创投等知名投资机构 。

文章图片
图2/6
在当时 , 云鸟科技的估值也十分不俗 。 在2019年10月发布的《2019胡润全球独角兽榜》中 , 云鸟科技位列第264名 。 胡润研究院于同年公布的《世茂海峡·2019三季度胡润大中华区独角兽指数》中 , 云鸟科技也凭借估值70亿人民币成功上榜 。
然而自那以后 , 云鸟的高光似乎就永久地停留在了那年 。
欠款、举债 , 韩毅的大胆终成冒进
到目前为止 , 云鸟科技员工用官微曝料一事已过去数天 , 微博号注销、破产清算消息传出、相关词条阅读量突破百万 , 韩毅本人却始终不曾在大众视野露面 。

文章图片
图3/6

文章图片
图4/6
多方消息显示 , 云鸟科技经营有困早已现出了端倪 。 十一后的第一个工作日 , 云鸟科技突然裁撤了全国37个城市的运营点 , 同时开除大量员工 。 更让人感到恐慌的是 , 直到裁员消息发出 , 许多员工都还没能拿到8月份的工资 , 可以想见的是直到11月 , 苦苦等待的人们也没能等到公司发出钱来 。

文章图片
图5/6
8月、9月、10月 , 三个月的工资压在员工们头顶 , 也笼罩着韩毅 。 按照员工对于媒体的描述 , 云鸟科技最多时拥有3800余名员工 , 几次三番的拖欠工资后大约还剩余1500名 , “平均工资1至2万 , 高层会更多 , 可能牵扯到近亿元的资金 。 ”
经过多方分析后 , 内部人士们普遍认为定时炸弹最终引爆原因为极速扩张 。 据了解 , 以郑州地区为例 , 尽管疫情影响不可避免 , 但去年及今年均有不少分红进账 , 若保持稳定运营 , 不说大富大贵 , 至少能保证小富即安 。
特别声明:本站内容均来自网友提供或互联网,仅供参考,请勿用于商业和其他非法用途。如果侵犯了您的权益请与我们联系,我们将在24小时内删除。
