对于苹果来说 , 他们在研究折叠屏iPhone早已不是秘密 , 就看在何时推出了 。
一项专利申请在2021年1月被披露 , 现在这项名为“带有纤维复合摩擦铰链的电子设备”的专利已经被授予苹果 。 苹果在专利文档当中表示 , 电子设备可能有部分是用铰链连接的 , 然而 , 如果不注意的话 , 铰链结构可能是笨重的 , 脆弱的 , 容易滑落的 。

文章图片
【苹果新专利曝光:折叠iPhone、MacBook Pro都在准备】图1/3
苹果的想法是通过“使用纤维复合结构”减少铰链的体积 , 同时提高铰链的性能 。
该专利详细说明了铰链的任何一侧可能是什么 。 例如 , 在一侧设置电路 , 在另一侧控制显示器 。 但该专利的核心是 , 铰链可以由非常多的重叠“手指”制成 。

文章图片
图2/3
苹果表示 , 纤维复合材料铰链可以有第一套和第二套相互咬合的细长手指 , 细长指上的孔可以接收紧固件的轴 。 然后紧固件可以被拧紧 , 以沿铰链轴线将细长的手指挤压在一起 , 纤维复合材料铰链可由纤维复合材料形成 , 如碳纤维复合材料 。
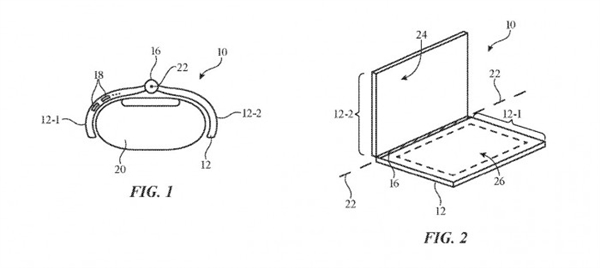
除了灵活之外 , 该专利还提出了一个可以根据用户需要定位的铰链 , 可以在传闻中的苹果智能戒指中使用 。 苹果表示 , 当设备安装在用户的手指上时 , 该铰链的部分可以帮助抓紧用户的手指两侧 , 铰链可以允许各部分围绕铰链轴相互旋转或远离 。
其实在这之前 , 郭明錤表示 , 苹果预计在2023年推出支持屏下指纹技术的iPhone , 而首款折叠屏iPhone可能在2024年推出 。

文章图片
图3/3
特别声明:本站内容均来自网友提供或互联网,仅供参考,请勿用于商业和其他非法用途。如果侵犯了您的权益请与我们联系,我们将在24小时内删除。
