原创 君臣佐使 米内网
精彩内容
3月9日 , 中天药业/华世通生物4类仿制药非布司他片的上市申请已经审批完毕 , 获批生产并视同过评 , 该产品在2019年中国公立医疗机构及中国城市实体药店终端合计市场规模接近20亿元 。米内网预测数据显示 , 2020年中国城市实体药店终端抗痛风制剂市场规模同比增长15.64% , 在产品排名中 , 非布司他片稳居榜首 。

文章插图
非布司他片是一款黄嘌呤氧化酶(XO)抑制剂 , 通过减少血清尿酸达到疗效 , 主要用于痛风患者高尿酸血症的长期治疗 , 有“痛风神药”之称 。
米内网数据显示 , 非布司他片在2019年中国城市公立医院、县级公立医院、城市社区中心以及乡镇卫生院(简称中国公立医疗机构)及中国城市实体药店终端销售额接近20亿元 。
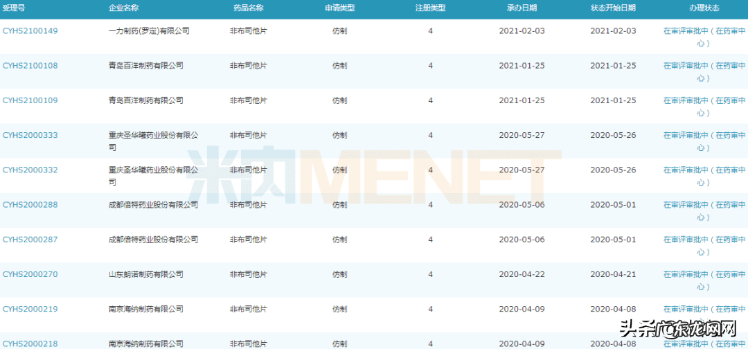
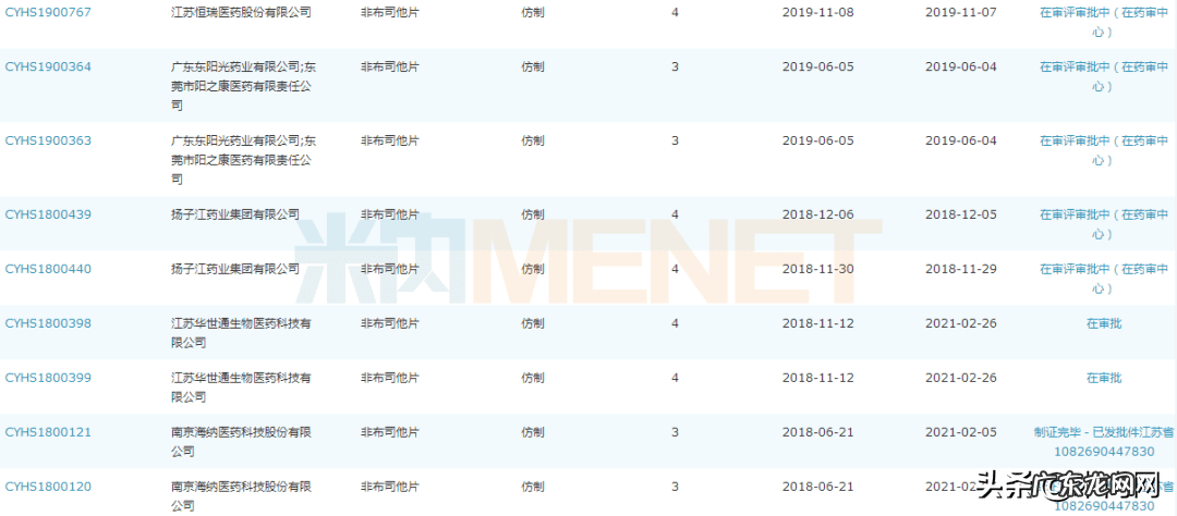
非布司他片新分类报产情况

文章插图

文章插图
(点击图片可放大)
东阳光药、扬子江药业、倍特药业等11家企业按新注册分类提交非布司他片上市申请 , 南京海纳医药、中天药业/华世通生物的产品已经获批并视同过评 , 其余企业的产品还在审评审批中 。
中国城市实体药店终端抗痛风制剂销售情况

文章插图
近几年来 , 中国城市实体药店终端抗痛风制剂的市场规模不断扩大 , 年增长率均保持在两位数 , 2020年在疫情影响下 , 预计增速也将达到15.64% , 市场潜力较大 。
中国城市实体药店终端抗痛风制剂TOP5产品

文章插图
TOP5产品中 , 非布司他片稳居首位 , 销售额将超过5亿元 , 同比增长22.6%;仅有2家国产企业获得生产批文的苯溴马隆片也将实现4.67%的增长 。
【痛风可以吃什么水产品 痛风的产品】注:米内网中国城市实体药店终端竞争格局数据库是覆盖全国293个地市及以上城市实体药店(不含县乡村实体药店) , 对全品类进行连续监测的放大版城市实体药店数据库 。上述销售额以产品在终端的平均零售价计算 。
- 日值岁破大事不宜如何化解 岁破日如何化解
- 风水宝地的意思是什么 香港邓氏风水宝地
- 玻璃拉拉鱼 玻璃拉拉鱼是什么鱼
- 热水器自动断电是什么原因
- 凯迪拉克xts汽油滤在什么地方
- 夏季宝宝可以吃凉的食物吗
- 女生提出分手后的心理变化是什么样的
- 注册内资公司需要什么资料 内资有限公司注册流程
- 暹罗猫怎么养才养得好 暹罗猫适合什么人养
- 民法典226条规定动产物权的设立和转让自什么发生效力呢
特别声明:本站内容均来自网友提供或互联网,仅供参考,请勿用于商业和其他非法用途。如果侵犯了您的权益请与我们联系,我们将在24小时内删除。
