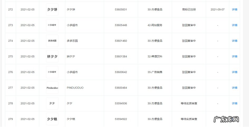
11月24日消息,天眼查资料显示,近日,拼多多关联公司上海寻梦信息技术有限公司申请注册的部分“拼夕夕”商标流程状态变更为“驳回复审”“等待驳回复审”,以上商标国际分类涉及啤酒饮料、医药、饲料种籽等,申请日期为今年2月份 。

文章插图
【拼多多申请的部分拼夕夕商标被驳回复审】

文章插图
据了解,自2018年起,拼多多就开始申请“拼夕夕”商标,国际分类涉及网站服务、社会服务、科学仪器等 。 其中有部分在2019年通过审核,成功注册,部分直到现在仍处于等待实质审查中 。
今年拼多多又申请了多条“拼夕夕”“夕夕”相关商标,国际分类涉及30-方便食品、32-啤酒饮料、05-医药、31-饲料种籽、29-食品等多个品类,大部分状态也处于“等待实质审查” 。

文章插图

文章插图
天眼查显示,上海寻梦信息技术有限公司成立于2014年1月,注册资本1000万人民币,法定代表人为朱健翀,经营范围包括网络科技、计算机软硬件领域内的技术开发、技术转让、技术咨询、技术服务,网络工程,计算机系统集成;食品经营;第二类增值电信业务等 。

文章插图
日前,其申请的多条“拼多多支付”商标状态变更为已注册,商标国际分类涉办公用品、科学仪器、广告销售等,最早申请日期为2021年1月14日 。
- 拉夏贝尔被申请破产清算,144个银行账号被冻结,股价跌超90%
- 充电头网实测:iPhone 13 Pro Max 充电器功率大比拼
- 女生为了变好看变漂亮能有多拼?
- 拼多多拼单不成功商家可以发货吗?
- 拼多多48小时不发货自动赔偿吗?附常见场景
- 1433端口怎么打开 1433端口
- 详细步骤及要求 抖音如何申请团长机构服务商
- 拼多多放单主持人月收入达到多少?
- 拼多多付费通的优缺点是什么?支持哪些业务?
- 拼多多申请“拼多多支付”商标获批
特别声明:本站内容均来自网友提供或互联网,仅供参考,请勿用于商业和其他非法用途。如果侵犯了您的权益请与我们联系,我们将在24小时内删除。
